手机应急充电器制作
随着现在手机的多功能化发展趋势,手机耗电量逐步增加,这就提高了对电池的要求,但是另一方面,电池随着手机体积的逐渐缩小而变得越来越小,而电池供电技术却并没有随之提高,这就带来了待机时间减少的问题,给经常外出的人使用手机带来了不少麻烦。为了解决这一问题,许多人在购买手机时候采用了双电双充的配置方案,用来解决耗电量大的问题。这样不但提高了手机购置成本,而且使用当中并不像想象中的那样方便,不是忘了携带第二块电池就是忘了给第二块电他充电,使得外出时因为电池电量不足影响手机的的正常使用。为了解决这一问题,本文介绍一种手机应急充电器,它使用两节5号碱性电池或充电电池.经电路升压后采用直充的方式给手机充电,充电时不影响手机的正常使用。由于电路中使用的都是通用元器件,不仅成本低,而且制作简单。
电路工作原理
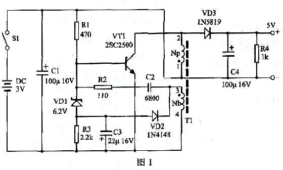
应急充电器的电路如图1所示,它是单管直流变换电路,采用单端反激式变换器电路的形式。电路中所谓的单端是指高频变换器的磁芯仅工作在磁滞回线的一侧。所谓的反激,是指当开关管VT1导通时,高频变压器T1初级线圈Np的感应电压为1正2负,整流二极管VD3处于截止状态,在初级线圈中储存能量。当开关管VT1截止时,变压器T1初级线圈中存储的能量,通过VD3整流和电容C4滤波后向负载输出。
三极管VT1为开关电源管,它和T1、R1、R2、C2等组成自激式振荡电路。加上输入电源后,电流经R1流向VT1的基极,使VT1导通,R1称为启动电阻。一旦VT1导通,变压器初级线圈Np就加上输入电压,其集电极电流Ic在Np中线性增长,反馈线圈Nb产生3正4负的感应电压,使VT1得到基极为正、发射极为负的正反馈电压,此电压经C2、R2向VT1注入基极电流,使VT1的集电极电流进一步增大,正反馈产生雪崩过程,使VT1饱和导通。在VT1饱和导通期间,T1的初级线圈Np储存磁能。
与此同时,感应电压给C2充电,随着C2充电电压的增高,VT1基极电位逐渐变低,当VT1的基极电流变化不能满足其继续饱和时,VT1退出饱和区进入放大区。VT1进入放大状态后,其集电极电流下降,在反馈线圈Nb产生3负4正的感应电压,使VT1基极电流减小,其集电极电流随之减小,正反馈再一次出现雪崩过程,VT1迅速截止。VT1截止后,变压器T1储存的能量提供给负载,初级线圈Np产生的1负2正的反向电压经二极管VD3整流滤波后,在C4得到5.8V的直流电压。通过手机的专用充电插头给手机充电。
在VT1截止时,直流供电输入电压和Nb感应的3负4正的电压又经R1、R2给C2反向充电,逐渐提高VT1基极电位,使其重新导通,再次翻转达到饱和状态,电路就这样重复振荡下去。
VD1、VD2、C3等组成稳压电路,在VT1截止期间,Nb感应的3负4正的电压经VD2向C3充电,当C3上的电压(上负下正)大于6.2V时.稳压二极管VD1开始导通起分流作用,减小VT1的基极电流,从而可以控制VT1的集电极电流Ic,达到稳定输出电压的作用。
需要说明的是:由于输入直流电压低,不需要隔离,同时输入直流电压干和输出直流电压比较接近,因此高频变压器没有设次级线圈,负载电路的能量直接从初级线圈获取。这样做有两点好处:一是提高了电路的转换效率,二是VD3、C4、R4等同时又组成了浪涌电压吸收回路,吸收VT1截止瞬间产生的反向高压。
元器件选择与安装调试
VT1要求Icm>1A,hEF为50~100,可用2SC2500,2SD965等,VD1为稳压值6.2V的稳压二板管,其它元件的参数见图1。
高频变压器T1要自制,用E16的铁氧体磁芯,Np、Nb均用Φ0.44漆包线绕16匝。绕制时要注意各线圈的起始端不要搞错,以免电路不起振。组装时在两块磁芯间垫一层厚度约为0.05mm的塑料薄膜作磁芯气隙。
印刷电路板见图2,尺寸为30mm x 38mm。安装完成后,接上电源,空载时其输出电压约为5.8V,电路工作电流为60mA,当工作电流偏大时可适当增加R1的阻值.待充电插头插上手机后,电压约降为5V。这时电路工作电流约为210mA,充电电流约为120mA。当充电电流偏小时可适当减小R2的阻值。

- 刊登此文只为传递信息,并不表示赞同或者反对作者观点。
- 如果此内容给您造成了负面影响或者损失,本站不承担任何责任。
- 如果内容涉及版权问题,请及时与我们取得联系。

文章评论